Récemment, INVT a conclu une coopération approfondie avec une entreprise de fibres chimiques dans le Henan. Grâce à sa capacité technique exceptionnelle et à son innovation, la technologie de commutation sans perturbation « un vers cinq » du variateur haute tension GD5000 d’INVT a été appliquée avec succès, résolvant de nombreux problèmes de production et atteignant à la fois des objectifs d’économie d’énergie et d’amélioration de la compétitivité.
01 “Obstacle” de production : démarrage direct en fréquence industrielle
Au cours du processus de production, cette entreprise de fibres chimiques du Henan a toujours été confrontée aux problèmes causés par le démarrage direct en fréquence industrielle. L’usine dépend de l’énergie solaire et la réserve de la grille électrique est limitée ; lors du démarrage d’un moteur en fréquence industrielle, le courant de démarrage peut atteindre 5 à 8 fois le courant nominal. Cet impact énorme affecte gravement le fonctionnement normal des autres équipements sur le même réseau et provoque fréquemment des déclenchements, interrompant la production et réduisant considérablement l’efficacité.
De plus, le couple de démarrage est difficile à contrôler avec précision lors du démarrage direct en fréquence industrielle. Un couple trop élevé peut endommager les équipements de charge, augmenter les coûts de maintenance et la fréquence de remplacement, comprimant encore plus la marge bénéficiaire de l’entreprise.
02 Besoin précis : solution personnalisée INVT

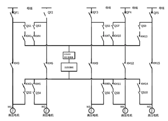
Le variateur est utilisé uniquement comme démarrage progressif. Selon les paramètres nominaux de charge et les conditions de fonctionnement réelles, les cinq contacteurs à vide contrôlés par le variateur dans l’armoire de commutation doivent être verrouillés électriquement entre eux, garantissant qu’au maximum un contacteur soit fermé pendant le fonctionnement, c’est-à-dire qu’un seul moteur fonctionne en variateur, assurant la sécurité du système. De plus, le variateur doit être équipé d’un circuit de précharge et doit accélérer de zéro à pleine fréquence en 20 secondes.

Sur la base de ces besoins clients, l’équipe INVT a répondu rapidement et a finalement défini la solution « un vers cinq avec commutation sans perturbation » avec le variateur haute tension GD5000.
Cette solution, grâce à un design de circuit ingénieux et un algorithme de contrôle avancé, permet à un variateur haute tension de piloter simultanément cinq moteurs et de réaliser une commutation fluide et sans perturbation entre fréquence variable et fréquence industrielle.
* Réduction des coûts
Auparavant, chaque moteur nécessitait son propre variateur, ce qui était coûteux. La technologie de commutation sans perturbation « un vers cinq » permet à cinq moteurs de partager un seul variateur, réduisant considérablement les coûts d’acquisition et de maintenance.
* Économie d’énergie significative
Le contrôle précis de la vitesse du variateur ajuste la vitesse en temps réel selon la charge réelle du moteur, évitant le gaspillage d’énergie dû à la vitesse constante en fréquence industrielle. Les tests ont montré un taux d’économie d’énergie de 20 à 40%, favorisant un développement vert et durable.
* Allongement de la durée de vie
La technologie de commutation sans perturbation réduit l’impact du courant lors de la transition entre fréquence variable et fréquence industrielle, presque sans affecter le fonctionnement normal du moteur, diminuant les risques de panne et prolongeant la durée de vie des moteurs et équipements associés.
* Commutation rapide
En pratique, les variateurs GD5000 haute tension d’INVT ont montré des performances exceptionnelles. De zéro à fréquence industrielle, la commutation est réalisée en seulement 55 secondes, réduisant en douceur les chocs mécaniques et résolvant de nombreux problèmes critiques du client.

Forme d’onde lors de la commutation
Cette coopération prouve que les variateurs haute tension GD5000 d’INVT, grâce à leurs performances et leur efficacité, sont devenus un outil clé pour que l’entreprise de fibres chimiques du Henan améliore son efficacité énergétique et sa compétitivité. À l’avenir, INVT continuera à innover et à promouvoir la mise en œuvre à grande échelle de solutions vertes d’économie d’énergie, créant un nouveau chapitre dans le développement industriel.

Notre site utilise des cookies pour vous offrir une meilleure expérience sur site. En poursuivant votre navigation, vous acceptez notre utilisation des cookies conformément à nos Politique relative aux cookies.